上海恒點傳動設備有限公司
加微信聯系 恒點減速機QQ2:51228482
[HTML] [XML]  産品展示産品展示-RSS  新聞中心新聞中心-RSS  技術支持技術支持-RSS
産品分類: 減速機蝸輪絲杆升降機轉向箱蝸輪蝸杆減速機齒輪減速機行星齒輪減速機擺線針輪減速機無級變速機大功率減速器
上海恒點傳動設備有限公司
資訊分類
和産品相關的技術文章
當前位置:網站首頁 > 技術支持 > 齒輪裝置噪聲及功率級測定方法測試儀器、測試對象(GB6404-86)

齒輪裝置噪聲及功率級測定方法測試儀器 、測試對象(GB6404-86)

Tags: F系列平行軸斜齒輪減速機    發布時間: 2014-11-21
3測試儀器
3.1等級
測試儀器應使用GB3785-83《聲級計的電、聲性能及測試方法》中規定的Ⅰ型或Ⅰ型以上的聲級計,以及準確度相當的其他測試儀器,聲級計或其他測試儀器和傳聲器之間最好使用延伸電纜或延伸杆。當頻譜分析時 ,使用的1/1倍頻程或13倍頻程濾波器應符合GB 3241-82《聲和振動分析用的1/1和1/3倍頻程濾波器》的要求 。
3.2校準
每次測量前後,需用準確度優化於±0.5dB的聲級校準器在一個或多個頻率上對整個測試系統(包括電纜)進行校準。當測量前後校準的差值大於1.0d B時,測量無效。聲級校準器應按JJG176-76《聲壓級校準器試行檢定規程》、聲級計及其他測試儀器應按JJG188-78《聲級計試行檢定規程》定期檢定,以保證測試儀器的準確度。
4測試對象
原則上講 ,隻需測定齒輪裝置的噪聲。但是,那些與齒輪裝置結合爲一體的設備、或者靠近齒輪裝置並爲齒輪裝置正常工作必不可少的設備,例如泵、風扇等也包括在内。在測試報告中應寫明所附加使用設備的型号及其運行條件。
如果齒輪裝置安裝在整台機器裏以緻不能單獨測得它的噪聲級,可採用另經商定的測量方法(例如,聲強或結構振動測量)測定齒輪裝置的噪聲。
4.2測試條件
測試條件規定如下:
a.在恒定運轉速度下使用的齒輪裝置應按名義設計速度進行試驗。
b.非恒定運轉速度下使用的齒輪裝置,以設計速度範圍的算術平均值做爲試驗速度。
c.齒輪裝置可由制造廠自行決定進行空載或加載運行試驗。
d.噪聲測量應在機器設計溫度範圍内的熱平衡狀态下進行。如無法在熱平衡狀态下進行,應在測量結果中除去由於齒輪裝置溫度變化産生的影響。
本标準允許根據制造廠和用戶之間的協議或訂貨合同確定的條件進行試驗。例如:在最高轉速下測試,在産生最大聲壓級的轉速下測試,在某一固定轉速下測試,在具有代表性的空載或負載作作循環下測試等等 。特别是對高速或大功率齒輪裝置可商定其他的測試條件。
4.3齒輪裝置的安裝和聯結
安裝和聯結情況對齒輪裝置的聲輻射影響很大,因此,被測齒輪裝置的安裝應使用試驗環境,如原動機、工作機、地基等的影響減少到最小。可參照5.4關於背景噪聲的規定。
4.4測量表面、測量距離、測量點的位置和數量
4.4.1測量表面
爲瞭確定測量表面和傳聲器的位置,需要使用權一個恰好包絡齒輪裝置並終止於反射平面上的最小矩形六面體作爲基準體。在確定基準體大小時,聲源上凸出的部件,隻要不是聲能的主要輻射體,可不予考慮。
被測齒輪裝置的位置一經確定,其測量表面和測點位置可用坐标系統限定,水平的x軸和y軸在反射平面上平行於基準體的長和寬,垂直的z軸通過基準體的幾何中心 。特性距離d0是從坐标系統原點到基準體上面四個頂角任一角的距離。
式中:l1、l2、l3——基準體的長、寬、高(m)。
測量表面一般使用以下兩種形狀中的一種:
a.半徑爲r的半球測量表面(圖1):
b.與基準體各對應面平行、垂直距離均爲d的矩形六面體測量表面(圖3)。
一般情況下,基準體的線性尺度湛 超過1.0m,或超過1.0m但基準體形狀近似立方體的 ,應選用半球測量表面 ,否則使用矩形六面體測量表面。
4.4.2測量距離
當採用半球測量表面時,測量半徑r必須大於2d0可優先選用1、2、4、8m,一般不能小於1.0m。
當採用矩形六面體測量表面時 ,測量距離d可優先選用1、2、4、8m,最好選用1.0m,但不能小於0.5m。
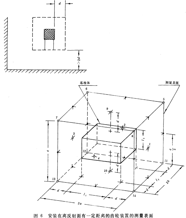
測量表面到所有其他反射表面(如房間的牆壁,其他機器的護闆等)的距離至少應爲2r(半球測量表面)或2d(矩形六面體測量表面)、如圖4所示。當測量表面的一部分不符合這個條件時,均應採用矩形六面體測量表面,並将這一部分表面舍去 ,将與之相接的其餘表面擴展到反射面的牆或護闆,如圖5所示。如果齒輪裝置安裝在離反射面都較遠的位置上,測量表面可按圖6確定。
齒輪裝置噪聲及功率級測定方法測試儀器、測試對象
齒輪裝置噪聲及功率級測定方法測試儀器、測試對象
齒輪裝置噪聲及功率級測定方法測試儀器、測試對象
齒輪裝置噪聲及功率級測定方法測試儀器、測試對象
表2半球測量表面基本測點的坐标
編号
x/r
y/r
z/r
1
-0.99
0
0.15
2
0.50
-0.86
0.15
3
0.50
0.86
0.15
4
-0.45
0.77
0.45
5
-0.45
-0.77
0.45
6
0.89
0
0.45
7
0.33
0.57
0.75
8
-0.66
0
0.75
9
0.33
-0.57
0.75
10
0
0
1.00
表3矩形六面體測量表面基本測點的坐标
編号
x
y
z
1
α
0
h
2
0
b
h
3
0
h
4
0
-b
h
5
α
b
c
6
b
c
7
-b
c
8
α
-b
c
9
0
0
c
4.4.3測量點的位置和數量
4.4.3.1完整的測點布置
半球測量表面上的10個基本測點如圖1所示,基本測點的坐标見表2。矩形六面體測量表面上的9個基本測點如圖3所示,基本測點的坐标見表3。
表3中:
a=0.5l1+d
b=0.5l2+d
c=l3+d
其中:l1,l2,l3——基準體的長、寬 、高(m);
d——測量距離;
h——測量度度。
一般情況下,取h=0.5c;也可取h=高速軸的高度。
對於同類型的齒輪裝置,高度h應取一緻。測點離反射平面的最小高度不得少於0.15m。
以下情況需附加測點:
a.在各基本測點上測得的最大、最小聲壓級之差(dB)超過測點數目;
b.基準體一邊長大於2d;
c.聲源輻射噪聲的指向性特别強。
對於a、b兩種情況,附加測點的一般原則是在半球測量表面上,如圖2所示,測點總數增加到20個。
在矩形六面體測量表面上,如圖3所示 ,測點總數增加到17個。當特性距離d0超過5.0m時,應繼續增加附加測點數目,使用測量表面上的測點間隔不行超過2d,並均分布。
對於c種情況,應在詳細調查後再設置附加測點。
當受空間的限制,對某個測點無法測量時 ,可以該點爲對稱中心,在測量表面上另行選取對稱的、距離盡量近的兩輔助測點,以這兩輔助測點上的分貝平均數作爲所需測點的分貝數。
4.4.3.2測點數目的減少
通過測定表面減少測點數目對計算聲功率級的偏差不大於1.0dB ,則測點數目可适當減少。
4.4.3.3用於驗收測試的單點測量
在齒輪裝置的普通生産檢驗中,經供需雙方同意,可以進行單點聲壓級測量,但使用這種單點測量不能得到聲功率級,測量表面完整的測點布置應與4.4.3.1一緻;聲壓測量點亦應按本标準測定過的同類型齒輪裝置志功率受幹擾最小或者有代表性的測點上進行。
4.5測試房間
本标準要求房間的反射對各測點讀數的影響不超過3dB,即環境修正量K2≤3dB或K2≤3dB倍頻程。測量結果按6.2進行修正。
如果環境修正量K2>3dB,可以用小一些的測量距離試測,也可採取聲學措施,以提高房間的吸聲量,或者另選合适的房間。
上一篇 上一篇: 齒輪裝置噪聲及功率級測定方法引言、術語、量和單位(GB6404-86)
下一篇 下一篇: 齒輪裝置噪聲及功率級測定方法測量步驟(GB6404-86)
相關新聞文章 > 查看更多
O型圈損壞的原因和措施-安裝不當導緻的損傷 2026-02-02
斜齒輪錐齒輪減速機常見問題及解決之道 2026-01-09
車用發動機噪聲的形成與對策 2025-11-28
車削螺紋時常見故障及解決方法-螺距不正確 2025-08-29
怎樣使用離心泵 2025-08-11
如何在數控加工中選擇刀具 2025-07-15
什麽時候應採用順銑,什麽時候應採用逆銑? 2025-05-30
錐齒輪承載能力計算方法第1部分:概述和通用影響系數範圍、規範性引用文件(GB/T10062.1-2003) 2025-05-07
如何增大2級圓柱齒輪減速器齒輪之間的中心距 2025-02-28
滾動軸承按用途主要可分爲哪幾類? 2024-12-06
什麽是内複圓直徑?什麽是外複圓直徑? 2024-11-29
軸承裏有多少零件? 2024-10-21
返回頂部 關閉本頁】 【打印本頁
電 話:021-22815912  021-22816186  傳 真:021-32050712   郵箱:sales@021jsj.cn  減速機 絲杆升降機 轉向箱 蝸輪蝸杆減速機
Copyright©2009-2026上海恒點傳動設備有限公司 版權所有  地址:上海市金山區亭林鎮林寶路39号  郵編:200442  滬ICP備10206998号-2 
友情鏈接機械設備網 | 渦街流量計 | 輸送機 | 變頻控制櫃 | 破碎機 | 工業同城 | 手持終端 | 柴油發電機 | uv平闆打印機 | 風淋室 | QUV | 防火門 | 九愛圖紙 | 感應加熱設備 | 輸送帶廠家 | 噪聲治理 | 西門子plc | 拖鏈電纜 | AGV | 機械雜志 | 現代機械 | UWB高精度定位 |