上海恒點傳動設備有限公司
加微信聯系 恒點減速機QQ2:51228482
[HTML] [XML]  産品展示産品展示-RSS  新聞中心新聞中心-RSS  技術支持技術支持-RSS
産品分類: 減速機蝸輪絲杆升降機轉向箱蝸輪蝸杆減速機齒輪減速機行星齒輪減速機擺線針輪減速機無級變速機大功率減速器
上海恒點傳動設備有限公司
資訊分類
和産品相關的技術文章
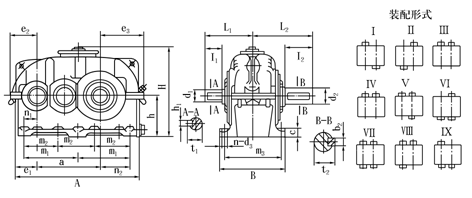
當前位置:網站首頁 > 技術支持 > ZLY、ZLZ圓柱齒輪減速機外形尺寸(JB/T8853-2001)

ZLY、ZLZ圓柱齒輪減速機外形尺寸(JB/T8853-2001)

Tags: Z系列硬齒面圓柱齒輪減速機    發布時間: 2015-01-27

ZLY、ZLZ圓柱齒輪減速機外形尺寸

規格
A
B
H  ≈
a
i=6.3~11.2 
i=12.5~20 
d2(m6)
ι2
L2
b2
t2
d1(m6)
ι1
L1
b1
t1
d1(m6)
ι1
L1
b1
t1
112
385
215
265
192
24
36
141
8
27
22
36
141
6
24.5
48
82
192
14
51.5
125
425
235
309
215
28
42
157
8
31
24
36
151
8
27
55
82
197
16
59
140
475
245
335
240
32
58
185
10
35
28
42
167
8
31
65
105
230
18
69
160
540
290
375
272
38
58
198
10
41
32
58
198
10
35
75
105
245
20
79.5
180
600
320
435
305
42
82
232
12
45
32
58
208
10
35
85
130
285
22
90
200
665
355
489
340
48
82
247
14
51.5
38
58
223
10
41
95
130
300
25
100
224
755
390
515
384
48
82
267
14
51.5
42
82
267
12
45
100
165
355
28
106
250
830
450
594
430
60
105
315
18
64
48
82
292
14
51.5
110
165
380
28
116
280
920
500
670
480
65
105
340
18
69
55
82
317
16
59
130
200
440
32
137
315
1030
570
780
539
75
105
365
20
79.5
60
105
365
18
64
140
200
470
36
148
355
1150
600
870
605
85
130
410
22
90
70
105
385
20
74.5
170
240
530
40
179
400
1280
690
968
680
90
130
440
25
95
80
130
440
22
85
180
240
560
45
190
450
1450
750
1065
765
100
165
515
28
106
85
130
480
22
90
220
280
640
50
231
 
i=6.3~12.5 
i=14~20 
 
500
1600
830
1190
855
110
165
555
28
116
95
130
520
25
100
240
330
730
56
252
560
1760
910
1320
960
120
165
575
32
127
110
165
575
28
116
280
380
820
63
292
630
1980
1010
1480
1080
140
200
660
36
148
120
165
625
32
127
300
380
870
70
314
710
2220
1110
1653
1210
160
240
740
40
169
140
200
700
36
148
340
450
990
80
355

ZLY ZLZ
C
m1
m2
m3
n1
n2
e1
e2
e3
h
地腳螺栓孔
重量
kg
潤滑油量L
d3
n
112
22
160
180
43
85
75.5
92
134
125
15
6
60
3
125
25
180
200
45
100
77.5
98
153
140
15
69
4.3
140
25
200
210
47.5
112.5
85
106
171
160
15
105
6
160
32
225
245
58
120
103
126
188
180
18.5
6
155
8.5
180
32
250
275
60
135
110
134
209
200
18.5
185
11.5
200
40
280
300
65
155
117.5
148
238
225
24
260
16.5
224
40
310
335
70.5
165.5
137.5
168
263
250
24
6
370
23
250
50
350
380
80
190
145
184
293
280
28
527
32
280
50
380
430
75
205
155
195
325
315
28
700
46
315
63
420
490
78
223
173
219
364
355
35
845
65
355
63
475
520
92.5
252.5
192.5
238
398
400
35
6
1250
90
400
80
520
590
95
265
215
275
445
450
42
6
1750
125
450
80
400
650
117.5
317.5
242.5
305
505
500
42
8
2650
180
500
100
440
710
120
345
262.5
337
557
560
48
8
3400
250
560
100
490
790
120
390
265
354
624
630
48
4500
350
630
125
540
870
115
425
295
384
694
710
56
6800
350
710
125
610
950
140
480
335
440
780
800
56
8509
520

上一篇 上一篇: ZLY、ZLZ圓柱齒輪減速機功率(JB/T8853-2001)
下一篇 下一篇: ZLY、ZLZ圓柱齒輪減速機概述及特點、型号、規格及其表示方法(JB/T8853-2001)
相關新聞文章 > 查看更多
蝸杆傳動的熱平衡是什麽 2025-04-03
對滾動軸承保持架用材料有何要求 2024-11-07
諧波傳動減速器檢驗規則(GB/T14118-93) 2024-03-26
ZQ、ZQH型圓柱齒輪減速器外形與安裝尺寸及軸端型式(JB1585-75) 2015-09-04
ZQ、ZQH型圓柱齒輪減速器承載能力(JB1585-75) 2015-09-03
ZQ、ZQH型圓柱齒輪減速器技術參數(JB1585-75) 2015-09-02
ZQ、ZQH型圓柱齒輪減速器型号與示例(JB1585-75) 2015-09-01
YK系列圓錐—圓柱齒輪減速器類型、特點和适用範圍、裝配型式 、代号示例(YB/T050-93) 2015-08-08
YK系列圓錐—圓柱齒輪減速器公稱功率和熱功率(一)(YB/T050-93) 2015-08-07
YK系列圓錐—圓柱齒輪減速器公稱功率和熱功率(二)(YB/T050-93) 2015-08-06
YK系列圓錐—圓柱齒輪減速器傳動比(YB/T050-93) 2015-08-05
YK系列圓錐—圓柱齒輪減速器轉動慣量和影響系數(YB/T050-93) 2015-08-04
返回頂部 關閉本頁】 【打印本頁
電 話:021-22815912  021-22816186  傳 真:021-32050712   郵箱:sales@021jsj.cn  減速機 絲杆升降機 轉向箱 蝸輪蝸杆減速機
Copyright©2009-2026上海恒點傳動設備有限公司 版權所有  地址:上海市金山區亭林鎮林寶路39号  郵編:200442  滬ICP備10206998号-2 
友情鏈接機械設備網 | 渦街流量計 | 輸送機 | 變頻控制櫃 | 破碎機 | 工業同城 | 手持終端 | 柴油發電機 | uv平闆打印機 | 風淋室 | QUV | 防火門 | 九愛圖紙 | 感應加熱設備 | 輸送帶廠家 | 噪聲治理 | 西門子plc | 拖鏈電纜 | AGV | 機械雜志 | 現代機械 | UWB高精度定位 |